Язык
Валюта
€
$
Br
р.
Корзина
0 товар(а,ов) - 0.00р.
В корзине ничего нет!
Добро пожаловать вы можете
войти
или
зарегистрироваться
.
Главная
Каталоги
Мой профиль
Отложено (0)
Корзина
Вы смотрели
21091
SPIDAN
Купить
06A109479C
SEAT
Купить
JTS488
TRW
Купить
D47169120A35
MAZDA
Купить
D35269120D31
MAZDA
Купить
Начало
»
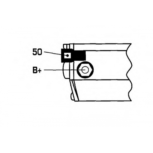
040152 DA SILVA Стартер
040152 DA SILVA Стартер
Производитель:
DA SILVA
Артикул:
040152
Купить
- ИЛИ -
Отложить
Отзывов: 0
|
Оставить отзыв
Поделится
Описание
Спецификация
Отзывы (0)
Применяемость
Аналогичные товары (10)
040152 DA SILVA Стартер
Модель бортовой сети
NULL
Мощность стартера [кВт]
1,4
Число зубцов
10T
Количество резьбовых отверстий
2
Количество крепежных отверстий
2
Оставить отзыв
Ваше Имя:
Ваш Отзыв:
Примечание:
HTML не поддерживается!
Рейтинг:
Плохо
Хорошо
Введите код указанный ниже:
Продолжить
0 986 017 500
BOSCH
Купить
2280003620
DENSO
Купить
2280003621
DENSO
Купить
2280003622
DENSO
Купить
25-3005
ELSTOCK
Купить
28100-64300
TOYOTA
Купить
335066102
DRI
Купить
458328
VALEO
Купить
D040152
DA SILVA
Купить
LRS1528
TRW
Купить
Тэги:
,
JAPANCARS.RU
JapanCars.ru © 2025